Lista de archivos
Esta página especial muestra todos los archivos subidos.
Primera página |
Página anterior |
Página siguiente |
Última página |
| Fecha | Nombre | Miniatura | Tamaño (bytes) | Usuario | Descripción | Versiones |
|---|---|---|---|---|---|---|
| 12:01 20 mar 2013 | Circuito impreso Netlist.png (archivo) | 59 KB | Erikhuman | Netlist | 1 | |
| 11:53 20 mar 2013 | Circuito impreso FootPrint.png (archivo) | 44 KB | Erikhuman | Footprint de R1 | 1 | |
| 11:45 20 mar 2013 | Circuito impreso Filtro Pasabanda.png (archivo) | 169 KB | Erikhuman | Filtro Pasabanda | 1 | |
| 11:08 20 mar 2013 | Circuito impreso Colorcomponente.jpg (archivo) | 5 KB | Erikhuman | Tipos de componentes según colores | 1 | |
| 22:24 19 mar 2013 | Notas Musicales.pdf (archivo) | 141 KB | Arpm92 | Macro: define notas musicales en diferentes octavas y simbolos musicales. | 1 | |
| 20:35 19 mar 2013 | Tabla de notas.xlsx (archivo) | 14 KB | Arpm92 | Archivo base para la configuracion de notas musicales y tiempo basados en el cambio de modulo en TPMx y/o RTC | 1 | |
| 12:19 19 mar 2013 | Apple Logo.jpeg (archivo) | 109 KB | Ddtdanilo | Logo de Apple Inc. | 1 | |
| 19:29 18 mar 2013 | BIL.jpeg (archivo) | 28 KB | MaAndreinaCane | 1 | ||
| 19:29 18 mar 2013 | BIH.jpeg (archivo) | 28 KB | MaAndreinaCane | 1 | ||
| 19:01 18 mar 2013 | Jumper18.jpeg (archivo) | ![]() |
10 KB | MaAndreinaCane | J18 - Reset Switch Enable and Reset LED Display Enable Jumper | 3 |
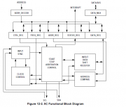
| 18:58 18 mar 2013 | IRQ Diagrama de Bloques.jpeg (archivo) | 42 KB | MaAndreinaCane | Diagrama de Bloques IRQ | 2 | |
| 22:36 17 mar 2013 | Pines L3G4200D.jpg (archivo) | 29 KB | Misato | 1 | ||
| 17:25 17 mar 2013 | MC9S08QE128RM Reference Manual.pdf (archivo) | 1,64 MB | Racuna | Reference Manual (Manual de Referencia) del microcontrolador MC9S08QE128. | 1 | |
| 12:02 17 mar 2013 | IRQpin.jpg (archivo) | 288 KB | MaAndreinaCane | Tarjeta DEMOQE128 con tarjeta hija MC9S08QE128 | 1 | |
| 19:16 16 mar 2013 | IRQSC.jpg (archivo) | 17 KB | MaAndreinaCane | Bits del registro IRQSC | 1 | |
| 19:35 12 mar 2013 | Ejemplo RTC.jpg (archivo) | 28 KB | Arpm92 | Ejemplo del funcionamiento básico del RTC | 1 | |
| 17:03 12 mar 2013 | Rebotes en pulsadores.jpg (archivo) | 30 KB | Karahbit | 1 | ||
| 23:28 9 mar 2013 | Pensum Telecom.pdf (archivo) | 272 KB | JCaceres | 1 | ||
| 23:18 28 feb 2013 | L3G4200D.pdf (archivo) | 1,15 MB | Racuna | Datasheet del L3G4200. Giróscopo digital de 3 ejes. | 1 | |
| 12:25 21 feb 2013 | Programa EC3731.pdf (archivo) | 101 KB | Racuna | Programa de la materia Arquitectura del Computador 2 (EC3731) | 1 | |
| 22:55 18 feb 2013 | Logo Mecatrónica.png (archivo) | 52 KB | Racuna | Logo oficial del Grupo de Investigación y Desarrollo en Mecatronica (GID-38) | 1 | |
| 03:00 11 feb 2013 | FuenteSwitchStepUpReg.PNG (archivo) | 28 KB | AK | 1 | ||
| 02:37 11 feb 2013 | Fuentecom.JPG (archivo) | 4 KB | AK | Esquema básico de una fuente conmutada | 1 | |
| 02:21 11 feb 2013 | Lm317.jpeg (archivo) | ![]() |
5 KB | AK | Regulador Lineal de Salida Variable | 1 |
| 01:50 11 feb 2013 | Filtrado.jpeg (archivo) | 5 KB | AK | Ejemplo de tranformador | 1 | |
| 01:48 11 feb 2013 | Rectificadorpuente.jpg (archivo) | 6 KB | AK | Ejemplo de tranformador | 1 | |
| 01:44 11 feb 2013 | Transformador.jpeg (archivo) | 6 KB | AK | Ejemplo de tranformador | 1 | |
| 05:05 5 dic 2012 | PP14.JPG (archivo) | 71 KB | Leofragachan | 1 | ||
| 05:04 5 dic 2012 | PP13.JPG (archivo) | 43 KB | Leofragachan | 1 | ||
| 05:04 5 dic 2012 | PP12.JPG (archivo) | 46 KB | Leofragachan | 1 | ||
| 05:04 5 dic 2012 | PP11.JPG (archivo) | 47 KB | Leofragachan | 1 | ||
| 05:03 5 dic 2012 | PP10.JPG (archivo) | 53 KB | Leofragachan | 1 | ||
| 05:03 5 dic 2012 | PP92.JPG (archivo) | 95 KB | Leofragachan | 1 | ||
| 05:02 5 dic 2012 | PP91.JPG (archivo) | 31 KB | Leofragachan | 1 | ||
| 05:02 5 dic 2012 | PP8.JPG (archivo) | 69 KB | Leofragachan | 1 | ||
| 05:01 5 dic 2012 | PP7.JPG (archivo) | 41 KB | Leofragachan | 1 | ||
| 05:00 5 dic 2012 | PP6.JPG (archivo) | 38 KB | Leofragachan | 1 | ||
| 05:00 5 dic 2012 | PP5.JPG (archivo) | 34 KB | Leofragachan | 1 | ||
| 05:00 5 dic 2012 | PP3.JPG (archivo) | 37 KB | Leofragachan | 1 | ||
| 04:59 5 dic 2012 | PP2.JPG (archivo) | 47 KB | Leofragachan | 1 | ||
| 04:59 5 dic 2012 | PP1.JPG (archivo) | 26 KB | Leofragachan | 1 | ||
| 00:01 2 dic 2012 | Propuesta2.png (archivo) | 187 KB | JCaceres | Propuesta de logo #2 | 1 | |
| 23:48 30 nov 2012 | Comparador.jpg (archivo) | 31 KB | Hyma | Comparador | 1 | |
| 22:34 30 nov 2012 | Tiempos de conversión.jpg (archivo) | 144 KB | Hyma | Tiempos de conversión | 1 | |
| 20:14 30 nov 2012 | Resaltando los m de iic.png (archivo) | 91 KB | Francjsalanova | 1 | ||
| 20:10 30 nov 2012 | D bloque.png (archivo) | 34 KB | Francjsalanova | 1 | ||
| 19:55 30 nov 2012 | Scigc1adc.jpg (archivo) | 26 KB | Julioa44 | 1 | ||
| 17:50 28 nov 2012 | Baudios.jpg (archivo) | 18 KB | Misato | 1 | ||
| 15:24 21 nov 2012 | JCaceres.jpg (archivo) | 21 KB | JCaceres | 1 | ||
| 22:12 20 nov 2012 | Device.jpg (archivo) | 144 KB | Eduardo suarez | 1 |
Primera página |
Página anterior |
Página siguiente |
Última página |

